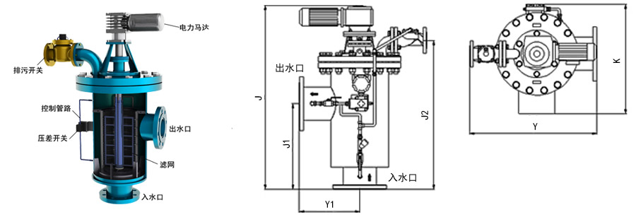
全自動反沖洗過濾器CTF-J

全自動反沖洗過濾器CTF-J
- 單臺處理水量:45-2350m³/h
- 最大工作壓力:0.1-1.6Mpa
- 過濾器清潔時的壓力損失:≤0.018Mpa
- 最高工作水溫:95℃
- 過濾精度范圍:100-3000μm
- 自清洗所需水量:<1%
- 自清洗時間:10-60秒
- 自清洗控制方式:壓差、時間及手動
- 電控方式:交流三相380V/ 50Hz
- 控制界面:數顯、旋鈕、開關
- 濾網類型:316L編織網、楔形網

自清洗過濾器技術數據
壓損表

- 上一篇:全自動管道過濾器CTF-F
- 下一篇:全自動排污過濾器CTF-Z